- 河野 英仁
- 河野特許事務所 弁理士
- 弁理士
対象:特許・商標・著作権
- 河野 英仁
- (弁理士)
- 河野 英仁
- (弁理士)
早わかり中国特許
~中国特許の基礎と中国特許最新情報~
2015年2月27日
執筆者 河野特許事務所
弁理士 河野英仁
(月刊ザ・ローヤーズ 3月号掲載)
第46回 均等論の主張と禁反言
1.概要
前回に引き続き禁反言について解説する。
訴訟戦略において被告側にとって禁反言は均等論に対抗しうる重要な武器となる。審査経過を取得し、禁反言が生じていないか精査することが重要となる。ここで実用新型特許については実体審査を経ていないため、禁反言はほとんど生じていない。従って無効宣告請求を行い、禁反言を引き出す戦略が必要となる。人民法院は均等論を積極的に認める一方で、禁反言についても正当な理由があれば被告の主張を認めている。
ただし、補正等により、どのような範囲が放棄されたかを正確に見極めることが重要となる。以下の判例では禁反言がどの範囲で生じたかが問題となった。
2.事例紹介
(1)概要
本事件では、請求項1~3に基づき権利侵害を主張したところ、被告から無効宣告請求がなされ、請求項1及び2は無効となり、従属請求項3のみが有効と判断された。上海市高級人民法院は、特許権者は請求項1及び2の範囲を無効宣告請求の過程において放棄したことから、禁反言が成立し、請求項3についてはもはや均等論は主張できないと判断した[1]。最高人民法院は、請求項1及び2の削除では請求項3に記載の技術特徴を放棄したとはいえないことから、均等論上の侵害を認めた[2]。
(2)背景
(i)特許の内容
田瑜、江文彦は「操舵機」と称する発明創造について、2007年4月17日国家知識産権局に実用新型特許出願を行い、2008年2月13日実用新型特許を取得した。特許番号はZL200720069025.2(以下、025特許という)である。実用新型特許成立後、実用新型特許権者は025特許について、中誉電子(上海)有限公司(原告)に専用実施権を許諾した。
025特許は、模型ヘリコプター及び模型飛行機等に用いられる操舵機について権利化している。参考図1は原告商品の一例[3]である。
参考図1 原告商品
025特許の請求項1~3は以下のとおり。なお符合は筆者において付した。
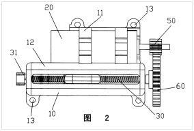
“1.模型操舵機において,
支持台10、電動機20、ガイドスクリュー30及びスライドブロック40を含み,
前記支持台10は電動機台11及びスライドブロック台12を含み,
前記電動機20は前記電動機台11内に設けられ,前記電動機20の一端に主動歯車50が設けられており,
前記ガイドスクリュー30は縦向きに前記スライドブロック台12を貫いており,前記ガイドスクリュー30の一端に従動歯車60が設けられており,
前記主動歯車50及び前記従動歯車60は相互に噛み合い,
前記スライドブロック40は前記ガイドスクリュー30上を貫いており,かつ、前記スライドブロック40は伸びており,前記ガイドスクリュー40の底面にブラシ70を設けてある
ことを特徴とする模型操舵機。
2.前記支持台10上に,操舵機駆動回路板80上に固定する固定孔13が設けてある
ことを特徴とする請求項1に記載の模型操舵機。
3.前記操舵機駆動回路板80上に,線形の炭素膜81及び銀膜82が印刷されており,前記支持台10は、固定孔13を通じて前記操舵機駆動回路板80上に固定され,かつ前記スライドブロック40底面上のブラシ70と該炭素膜81及び銀膜82が相互に接触する
ことを特徴とする請求項2に記載の模型操舵機。
参考図2は025特許に記載された図面である。
参考図2 025特許図面
スライドブロック40が左右に動く際、底面に設けられたブラシ70も左右に動く。この際ブラシ70は、炭素膜81及び銀膜82と相互に接触し、ポテンショメータとして機能する。
→続きは、月刊ザ・ローヤーズ2015年3月号をご覧ください。
中国特許に関するご相談は河野特許事務所まで
[1] 上海市高級人民法院2010年判決 (2010)沪高民三(知)終字第53号
[2] 最高人民法院2012年4月12日判決 (2011)民提字第306号
[3]中誉公司HPより 2013年10月4日http://www.helang.com/
このコラムに類似したコラム
セミナーのご案内(中国特許の調べ方、書き方/中国商標法改正のポイント) 河野 英仁 - 弁理士(2014/03/04 14:00)
知財リスクは国外からやってくる~中国で特許出願増大中~ 河野 英仁 - 弁理士(2014/11/04 11:00)
中国特許判例紹介(36)(第3回)中国における均等論の解釈~方法の順序を変更した場合に均等が成立するか~ 河野 英仁 - 弁理士(2014/09/09 11:00)
中国特許判例紹介(38):引用式並列独立請求項の技術的範囲解釈(第2回) 河野 英仁 - 弁理士(2015/01/23 11:00)
中国特許判例紹介(38):引用式並列独立請求項の技術的範囲解釈(第1回) 河野 英仁 - 弁理士(2015/01/20 11:00)














